Chapter 1 Product Overview
Product Overview

①Signal Strength Indicator LEDs
②WPS LED
③WAN/LAN LED
④LAN LED
⑤Power LED
⑥WPS Button
⑦Mode Selector
⑧POWER On/Off
⑨LAN Port
⑩WAN/LAN Port
⑪Reset Button

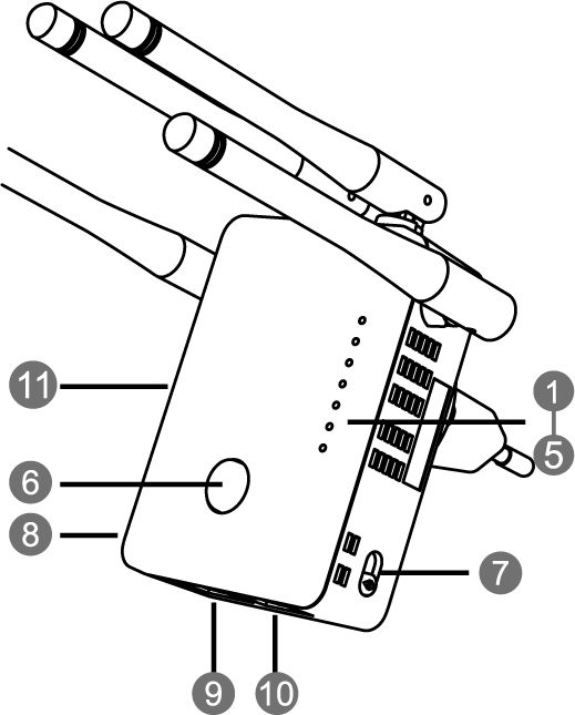
①Signal Strength Indicator LEDs
②WPS LED
③WAN/LAN LED
④LAN LED
⑤Power LED
⑥WPS Button
⑦Mode Selector
⑧POWER On/Off
⑨LAN Port
⑩WAN/LAN Port
⑪Reset Button