Skip to main content
WAVLINK
中文
English
中文
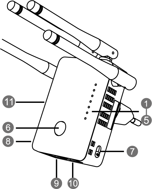
章节 1 产品概览
①信号强度灯
②WPS 灯
③WAN/LAN 灯
④LAN 灯
⑤电源灯
⑥WPS按键
⑦模式按钮
⑧电源开关
⑨LAN网口
⑩WAN网口
⑪Reset键
上一页
使用手册
下一页
章节 2 指示灯和按键